|

Foto 1 - De opstellling van het voedingsgedeelte (klik
= vergroting)
Zelfbouw: lineaire versterkers voor amateurgebruik
Deel 3 - Choke voor de gloeistroom en
soft-switch
Voordat we verdergaan moeten we eerst
even aangeven hoever we al zijn gekomen. We hebben een kast, een chassis en een frontplaat.
Daarnaast hebben we de diverse trafo's, de gelijkrichtunit en het condensatorblok. In dit deel
wordt begonnen met het samenvoegen van de diverse onderdelen en de daarbij
behorende bedrading. Buisvoet, hoogspanningstrafo, gloeistroom en 24 volt-
trafo worden op of in het chassis gemonteerd volgens foto 1 van aflevering 2. We voegen daar
het condensatorblok aan toe, en het printje met de diodes. Het condensatorblok en het diodeprintje
worden gemonteerd door middel van geïsoleerde afstandhouders. Op foto 1 is een en ander duidelijk aangegeven.
De rest van de genoemde componenten worden monteren onder het chassis
gemonteerd. Vervolgens moeten de componenten voor de bediening aan het front bevestigd worden. De volgende zaken zijn daarbij nodig: een centrale aan-/uit-schakelaar, twee signaallampjes voor de inschakelindicatie, nog twee signaallampjes, waarvan één voor ontvangen en één voor zenden (hier komen we later
nog op terug), een schakelaar met middenstand (test - stand-by - zenden), en een drukknop.
En niet te vergeten natuurlijk de twee meters. Aan de achterkant van het chassis komt de invoer van de 220 volt-leidingen,
en als u wilt, nog een zekeringhouder. Op foto 2 zijn de componenten aangegeven.

Foto 2 - De componenten voor de frontplaat (klik =
vergroting)
Wat verder te zien is zijn twee instrumentkastbeugels ter bescherming van de frontonderdelen,
bovendien..... deze staan nog professioneel ook. De beugels zijn, alweer,
gewoon verkrijgbaar op de badkamerafdeling van de bouwmarkt. Leg al deze componenten op de frontplaat en bepaal
waar de gaten moeten worden geboord. Op foto 7 is een voorbeeld van een mogelijke
indeling te zien.

Foto 7 - Een mogelijke indeling van de frontplaat (klik
= vergroting)
|

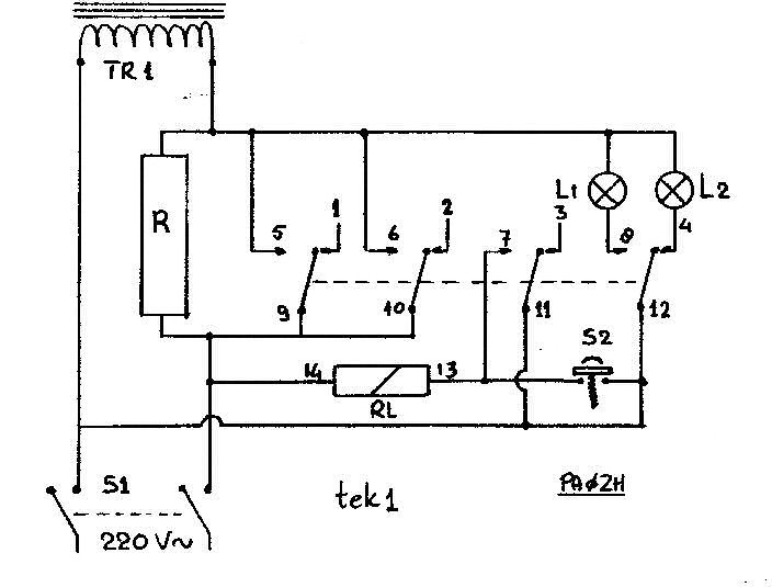
Tekening 1 (klik = vergroting)
De drukknop
Denk erom dat het chassis aan moet sluiten op het front, 5 cm vanaf de onderzijde. Na het boren van de gaten is het handig om nu eerst de frontplaat te schuren en te schilderen of
te spuiten in de gewenste kleur. Dan kan hij mooi drogen als we de rest van de componenten
gereed maken.
Ik heb hierboven vermeld dat we een drukknop nodig hadden voor op het front. Dit moet een drukknop met maakcontact zijn en deze drukknop dient ervoor om de hoogspanningstrafo langzaam in te schakelen. Dit wordt ook wel soft-switch genoemd. Dat wordt gedaan omdat een hoogspanningstransformator als deze een relatief lage primaire weerstand heeft. Tijdens het inschakelen van de 220 volt zal er een hoge inschakelstroompiek ontstaan, en dit is niet goed voor de zekeringen in de meterkast. Verder is het in één keer inschakelen van de 2850 volt wisselspanning op de diodes en elco's ook niet goed voor de gezondheid van deze beide. Om al die vliegen in een klap te vangen gaan we hoogspanningstrafo inschakelen via een zware voorschakelweerstand. In sommige schakelingen in de literatuur
gebeurt dit automatisch met timers en/of tijdschakelaars. Wij houden het simpel, gewoon met de hand. Dat heeft bovendien het voordeel, als er iets mis gaat tijdens het inschakelen, dat u dan altijd het definitieve inschakelen kunt uitstellen totdat het probleem is opgelost. Bij automatisch inschakelen hebt u die mogelijkheid niet! In tekening 1 is de schakeling weergegeven en op foto 4 de afbeelding van de gebruikte componenten.

Foto 4 - Relais en voorschakelweerstand (klik =
vergroting)
Werking soft-switch
Via de hoofdschakelaar S1 wordt 220 volt toegevoerd aan de schakeling. Eén aansluiting gaat direct naar de trafo en de andere aansluiting via de weerstand R. De waarde van deze weerstand R is niet kritisch, alles tussen de 20 en 150 ohm is bruikbaar mits het maar een
weerstand voor 40 watt of meer is. Denk er wel om dat deze weerstand voldoende geïsoleerd van het front of
het chassis komt te staan. Er staat immers de volle 220 volt op! Via deze weerstand zal de spanning "langzaam" op de trafo komen te staan en kunnen de elco's zich alvast wat gaan opladen. Ook het gebruikte relais is niet kritisch, als het maar 220
volt-relais is, minimaal over 3 wisselcontacten beschikt en geschikt is om 6 ampère te schakelen. Eventueel kunt u nog een aantal contacten parallel schakelen zoals op tekening 1 te zien is. De aangegeven nummering geld natuurlijk alleen voor het relais dat ik hier
gebruikt heb, en is slechts bedoeld voor de uitleg van de werking. De spanning komt op aansluiting 12 van het relais te staan. Via aansluiting 4 is deze verbonden met een 220 volt signaallamp. Deze lamp gaat branden zodra de hoofdschakelaar is ingeschakeld. Verder is op aansluitingen 11 en 14 van de relais spoel de spanning aanwezig. S2 is de drukknop. Wat er gebeurt als deze knop bediend wordt is dat er 220 volt over de relaisspoel komt te staan en daardoor wordt het relais bekrachtigd. Echter, wanneer de knop wordt losgelaten zou ook de spanning weer van het relais verdwijnen. Daarvoor gebruiken we de aansluitingen 11 en 7 van het relais. Immers als het relais is aangetrokken schakelt aansluiting 11 van aansluiting 3 naar aansluiting 7. Deze neemt vervolgens de functie van de drukknop over, waardoor het relais ingeschakeld blijft. Aansluiting 12 schakelt van aansluiting 4 naar aansluiting 8, de controle lamp L1 gaat nu branden. Wat is daarbij het belangrijkste?
Aansluitingen 9 en 10 zijn omgeschakeld van respectievelijk aansluiting 1 en aansluiting 2 naar de aansluitingen 5 en 6 en hebben daarmee de weerstand kortgesloten. Hierdoor staat de volle spanning op de trafo. De tijd tussen het bedienen van de hoofdschakelaar en de drukknop S2 is niet kritisch, eigenlijk kunt u na het bedienen van S1 meteen wel op S2 drukken, de tijd die uw vingers nodig hebben om van S1 naar S2 te gaan is voldoende lang...
De gloeistroom-choke
Een volgend component dat we voor deze aflevering nodig hebben is de zogenaamde gloeistroom-choke. Waar hij voor dient behandel ik in een later hoofdstuk, het is nu zaak deze te maken en te monteren.

Foto 3 - De onderdelen voor de gloeistroom-choke met een
al gewikkelde choke (naast de VMVK-zadels; klik = vergroting)
|
Foto 3 geeft een beeld van de benodigde onderdelen, te weten: een paar meter installatiedraad, liefst bruin en blauw, twee zadels voor VMVK-kabel, dit alles is weer verkrijgbaar bij de bouwmarkt. Daarnaast is een ferrietstaaf nodig. Een ferrietstaaf vindt u in een portable transistor radio en oude "plano" radio's van Philips bijvoorbeeld. Een andere plaats waar ferrietstaven te krijgen zijn, zijn de radiomarkten, voor een paar euro bent u eigenaar van een handvol... Verwijder alle bedrading van de ferrietstaaf. De afmetingen van de staaf zijn niet kritisch, maar hij moet wel minimaal 12 cm lang zijn en minimaal 10 mm dik. Neem de bruine en de blauwe draad en wikkel deze samen om de ferrietstaaf zodat deze geheel vol gewikkeld is, dat is alles... De montage onder het chassis geschiedt op de twee getoonde zadeltjes.

Foto 5 - Montage van de diverse componenten aan de
onderzijde (klik = vergroting)
De montage
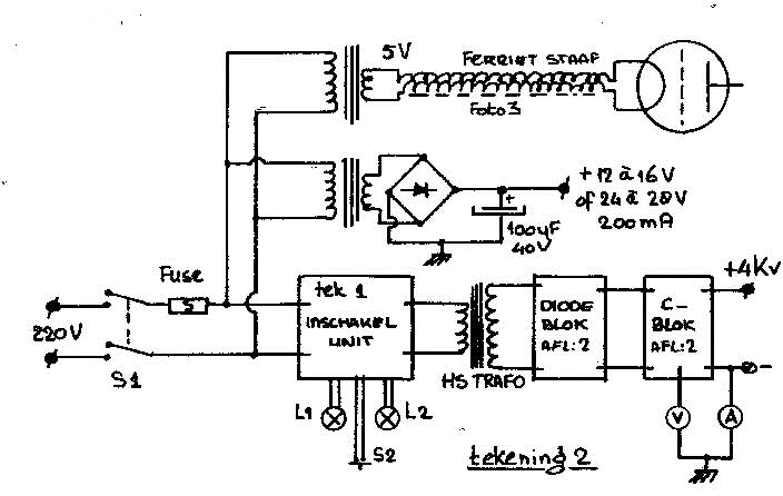
De trafo's worden op het chassis gemonteerd en de buisvoet onder tegen het chassis. Alle andere componenten vinden een plaatsje onder het chassis. Ik hoop dat de foto's 5 en 6 duidelijk genoeg zijn om aan te geven hoe e.e.a. gemonteerd is. De schotjes die u op de foto's ziet zijn niet noodzakelijk, ze zaten al in het frame van de gebruikte kast. Niet op letten dus! Op tekening 2 is nogmaals aangegeven hoe het geheel en de componenten met elkaar verbonden zijn. Voor het bedraden van de hoogspanning (de 2850 volt wissel- en de 4000 V gelijkspanning) is eigenlijk speciale hoogspanningskabel nodig. Maar ook dat heeft u vast wel in huis: gebruik hiervoor de binnenader van RG-59AU coax kabel, u kent het wel, de 75 ohm coaxkabel die gebruikt wordt bij computernetwerksystemen. De mantel van deze kabel is gemakkelijk te verwijderen en de overgebleven kabel is bestand tegen 10 kV!

Foto 6 - Nogmaals een blik op de onderzijde van de kast,
nu inclusief gloeistroom-choke en buisvoet (klik = vergroting)
Het testen
Haal de 220 volt aansluiting van de hoogspanningstrafo even los, zodat er veilig getest kan worden.
Stekker in het stopcontact, S1 bedienen, en de lamp L2 moet gaan branden Als u ook de buis in de voet gemonteerd hebt, moet deze ook gaan gloeien. Druk vervolgens op S2, het relais moet
nu aantrekken en L1 gaat aan, terwijl L2 uit gaat. Indien dit NIET het geval is.....controleer de bedrading! Pak
vervolgens de universeelmeter en controleer respectievelijk:
- Is de gloeispanning 5 Volt?? Zo niet, leg een extra wikkeling om de gloeistroom
trafo.
- Staat er tussen de 12 tot 18 of 24 tot 30 volt op de gelijkrichter van de stuurspanningtrafo??
Vervolgens schakelen we de zaak weer uit en bevestigen we de 220 volt weer aan de hoogspanningstrafo. Als u over een variac beschikt is het
hier handig deze te gebruiken, het kan echter ook zonder. Schakel vervolgens de hoofdschakelaar S1 weer in en druk NIET op S2! De hoogspanningsvoltmeter op het front moet nu uitslag geven, als de potmeter tenminste in de middenstand staat. Is dit niet het geval, schakel alles uit en controleer bedrading en diodeaansluitingen. Schakel weer in, als de voltmeter nu uitslaat, druk op S2! (set) De voltmeter zal nu een iets hogere waarde aangeven. Neem weer de universeel meter en meet de gelijkspanning over de laatste elco ten opzichte van aarde. Deze zal ongeveer 4000/8= 500 bedragen. Regel nu met de potmeter de uitslag van de front-voltmeter af op 5 respectievelijk 500 volt, afhankelijk van de schaal die u toepast.
Dat was het dan, uw voedingsgedeelte van de lineair is klaar. Laat de voeding een uurtje aanstaan en controleer nogmaals of er niets verloopt, stinkt en/of (te) warm wordt.
Tot zover deel 3. In de volgende aflevering wordt de HF-choke voor de anode van de buis beschreven, en het PI-filter voor naar de antenne..
Heeft u vragen over deze aflevering, of de vorige:
zhtech]at[zhtech.nl
©2006, copyright: Bouke Zwerver
vorige - home
- volgende

Tekening 2 (klik = vergroting)

www.zhtech.nl
|